![]() |
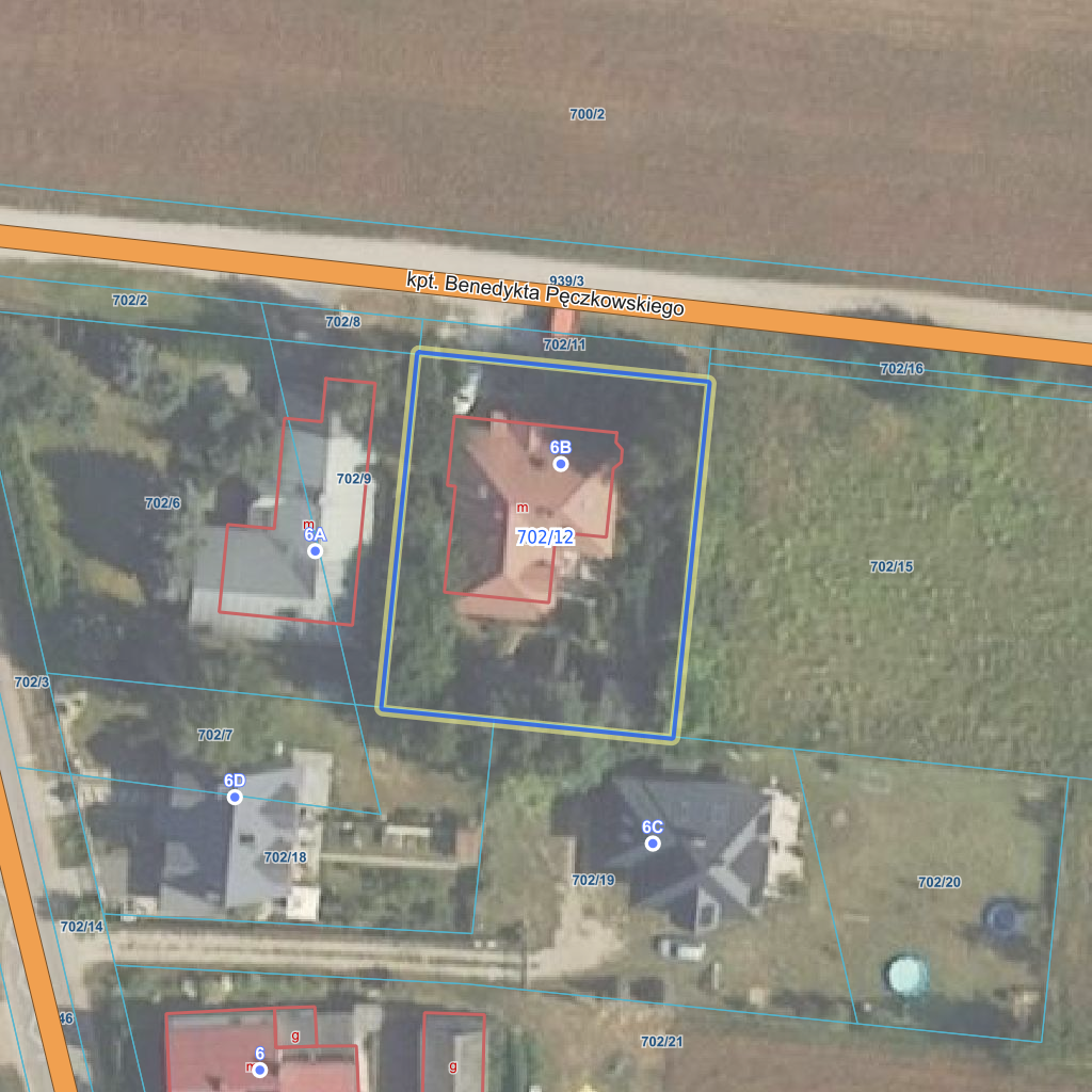
Raport o działce ewidencyjnej140803_2.0001.702/12(Informacje podstawowe - Pełny raport → dzialka.online) |
![]() |
|---|
| Numer działki | 702/12 |
|---|---|
| ID działki | 140803_2.0001.702/12 widok w portalu e-mapa |
| Obręb | Nieporęt |
| Położenie | województwo mazowieckie, powiat legionowski, gmina Nieporęt |
| Adres | ul. Małołęcka 6B, Nieporęt (05-126) |
| Powierzchnia geometryczna i obwód | 999 m2 (0.0999 ha), 127 m |
| Powierzchnia zabudowy | 238 m2 (23.8%) |
| Współrzędne i wysokość środka | X: 506769, Y: 639981, H: 81 m (PL-1992; PL-EVRF2007-NH) |
![]() | |
| Najbliższe otoczenie działki | |
|---|---|
![]() |
|
| Wykaz działek sąsiednich - pokaż wszystkie działki w portalu e-mapa | |
| Lp. | Działki sąsiednie | E-mapa | Raport |
|---|---|---|---|
| 1 | 140803_2.0001.702/11 | pokaż działkę | zamów raport |
| 2 | 140803_2.0001.702/15 | pokaż działkę | zamów raport |
| 3 | 140803_2.0001.702/18 | pokaż działkę | zamów raport |
| 4 | 140803_2.0001.702/19 | pokaż działkę | zamów raport |
| 5 | 140803_2.0001.702/8 | pokaż działkę | zamów raport |
| 6 | 140803_2.0001.702/9 | pokaż działkę | zamów raport |
| Kształt, wymiary działki i współrzędne punktów granicznych | |
|---|---|
![]() |
|
| Współrzędne punktów geograficzne oraz XY w układzie PL-1992 (EPSG:2180) | |
| Lp. | Długość | Szerokość | X (PL-1992) | Y (PL-1992) | Długość boku |
|---|---|---|---|---|---|
| 1 | 21.058398 | 52.409076 | 506 788.34 | 639 968.73 | |
| 2 | 21.058331 | 52.408764 | 506 753.54 | 639 965.21 | 35.00 |
| 3 | 21.058491 | 52.408751 | 506 752.43 | 639 976.12 | 11.00 |
| 4 | 21.058747 | 52.408731 | 506 750.66 | 639 993.61 | 17.60 |
| 5 | 21.058814 | 52.409043 | 506 785.45 | 639 997.15 | 35.00 |
| 6 | 21.058398 | 52.409076 | 506 788.34 | 639 968.73 | 28.60 |
| Zobacz wszystkie informacje | |||
|---|---|---|---|
| |||